Laves torrentielles

En termes simples, une lave torrentielle est un phénomène à mi-chemin entre une crue charriant des matériaux solides et un glissement de terrain superficiel. On parle également de « lave de boue », « coulée boueuse », « coulée de boue » ou « coulée torrentielle ». Les laves torrentielles se forment dans les lits des cours d'eau et le long des versants escarpés (coulées de boue de versant). Elles peuvent charrier une grande quantité de matériaux solides, de terre et de bois. La dynamique des laves torrentielles est similaire à celle des avalanches ; par exemple, le front de lave torrentielle est similairement la partie la plus rapide et celle qui contient les plus gros éléments. Les laves torrentielles s’écoulent souvent en plusieurs coulées. Chacune d'entre elles exerce une action d’érosion et crée des dépôts qui peuvent déformer le lit des cours d'eau existants. Comme les laves torrentielles peuvent entraîner des réactions en chaîne très complexes allant jusqu’aux déplacements de lits de cours d’eau, la définition de scénarios et l’analyse des possibles points de débordement revêtent une importance particulière. Étant donné qu'en règle générale les délais de préalerte ne sont pas suffisants, seules des mesures de construction permanentes sont capables de protéger les bâtiments, combinées éventuellement avec des adaptations dans l’utilisation des espaces.
Les objectifs de protection nationaux pour les nouveaux bâtiments se réfèrent à la norme SIA 261/1. Cette norme définit l’événement tricentennal comme objectif de protection contre les dangers naturels gravitationnels (crues, glissements de terrain, laves torrentielles, chutes de pierres, avalanches) pour les bâtiments résidentiels et commerciaux standard (CO I). Il convient également de respecter les directives cantonales et communales, ces dernières n’excédant toutefois pas en général les exigences de la norme SIA 261/1. Concrètement, le bâtiment doit rester intact et protéger des personnes se trouvant à l’intérieur même en cas d’événement tricentennal.
À partir de la classe d’ouvrage CO II, les exigences à respecter sont plus sévères (facteurs d’importance et majorations de la hauteur selon SIA 261/1).
Les laves torrentielles survenant dans le lit de cours d'eau sont très dangereuses, car elles peuvent atteindre des vitesses allant jusqu’à 20 m/s et charrier une grande masse de matériaux. C’est pourquoi elles provoquent souvent une importante érosion latérale et verticale (cf. érosion des berges en cas de crue). En terrain peu incliné ou si les coulées peuvent s’étaler sur les côtés, cette vitesse tombe à une valeur comprise entre 2 et 7 m/s pour des hauteurs d'écoulement situées entre 0,5 m et 3 m. Si une lave torrentielle perd de la vitesse et de l'eau, elle peut s'amonceler dans le lit du cours d’eau et ainsi favoriser le déclenchement de nouvelles coulées. De tels dépôts dans le lit forment des embâcles ; ceux-ci provoquent, en particulier au niveau des passages étroits et des voûtes des ponts, un débordement de lave torrentielle, qui vient se déposer sur le cône de déjection. Il est tout à fait possible que plusieurs coulées de lave torrentielle surviennent dans le même chenal au cours d’un seul épisode pluvieux.
Si la lave torrentielle déborde du chenal, on parle de débordement de laves torrentielles. Les actions déterminantes sont exercées d’une part par la force de choc des matériaux solides charriés, d’autre part par le contournement dynamique de l’objet par le mélange liquide-solide. Selon son emplacement et sa forme, un bâtiment peut être simplement contourné ou submergé. L’impact direct notamment avec de gros blocs de pierre ou des troncs d’arbres est plus violent. Dans les Alpes, les laves torrentielles les plus importantes charrient un volume de matériaux solides représentant quelque 100 000 m3 ; tandis que les petites laves torrentielles en transportent seulement 100 à 1000 m3.
Les coulées de boue de versant (glissements spontanés) peuvent survenir sur des versants escarpés lorsque les couches souterraines présentent une stabilité amoindrie et qu’elles sont fortement détrempées. La masse de terre saturée d'eau se met alors subitement en mouvement. Le mouvement est très rapide en raison de la part élevée en eau, ce qui provoque un déplacement total du sol. L’action exercée sur le bâtiment est similaire au débordement de la lave torrentiel, mais les coulées de boue de versant sont plutôt constituées de matériaux fins.
Les délais d’alerte ne sont possibles ni pour les laves torrentielles dans un le lit d'un cours d'eau, ni pour les coulées de boue de versant, à l’exception des torrents équipés en amont de détecteurs qui permettent d’alerter à temps. Ce genre d'installations lourdes est uniquement prévu dans les cas exceptionnels où par exemple elles permettent de protéger tout un village ou de fermer une voie de circulation en cas d'événement imminent.
Classes d’ouvrages : Les ouvrages sont classés en trois classes d’ouvrage (CO I à III) selon la norme SIA 261, chiffre 16.3. La classe d’ouvrage permet de déterminer de manière simple le degré de protection en fonction du risque.
Le degré de protection est fixé par l’appartenance de l’ouvrage à une classe d’ouvrage (CO) I, II ou III selon la norme SIA 261.
Délai de préalerte : Intervalle de temps entre l’identification du danger et le début de l’inondation.
La durée d'inondation commence au moment où l’eau afflue et se termine lorsque l'eau s’est complètement retirée.
Facteur d’importance : Facteur de pondération de la classe d’ouvrage pour le dimensionnement.
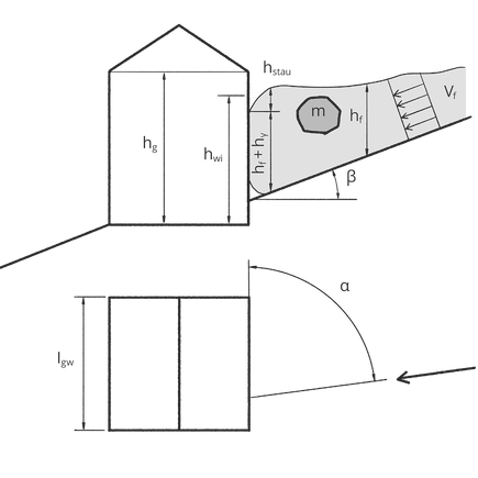
La hauteur d’incidence hwi est déterminée en additionnant la hauteur d'écoulement hf, la majoration de la hauteur hg, la hauteur de retenue hstau et la hauteur des vagues (voir la partie traitant des effets).
La hauteur des vagues hwellen d'un lac en crue doit être prise en considération (voir la partie traitant des effets).
La hauteur de retenue indique de combien la hauteur d’écoulement s’élève encore plus lorsque le flux rencontre un obstacle.
Majoration de la hauteur : Majoration de pondération de la classe d’ouvrage pour le dimensionnement.
Le niveau de refoulement est le niveau le plus élevé que l’eau puisse atteindre dans une installation d’évacuation des eaux. On fait une distinction entre a) le niveau de refoulement calculé selon le plan général d’évacuation des eaux (PGEE) et b) le niveau maximum possible de refoulement. Ce dernier correspond à la hauteur d’écoulement maximum.
Lorsqu’un terrain de forte déclivité (≥ 5-10 %) est inondé, la vitesse d’écoulement peut dépasser les 2 m/s. De telles vitesses apparaissent notamment sur les tronçons canalisés (par ex. rues et ravines). En terrain peu incliné (< 2 %), la vitesse tombe nettement sous les 2 m/s.
La vitesse de montée des eaux décrit la rapidité avec laquelle le niveau des eaux s’élève lors d’une inondation. Cette valeur est décisive pour estimer la menace qui pèse sur les personnes à l’intérieur et à l’extérieur des bâtiments. En cas d’inondations dues à une obstruction (par des débris flottants au niveau des ponts, des passages d’eau et des passages étroits), à des ruptures de barrages ou au déplacement d’un chenal, la vitesse de montée des eaux est rapide.
Pour dimensionner les mesures visant à protéger des objets, il faut disposer de données concernant la hauteur et la vitesse d’écoulement des éventuelles laves torrentielles ou coulées de boue de versant. Une alternative consiste à utiliser la pression exercée perpendiculairement sur un obstacle. Ces données peuvent être tirées des cartes d’intensité et du rapport technique relatif à la carte des dangers. En cas d'absence de données sur les intensités, elles seront déterminées par un spécialiste des dangers naturels.
Notations
v [m/s] | Vitesse d’écoulement de la lave torrentielle |
hf [m] | Hauteur d’écoulement de la lave torrentielle |
hstau [m] | Hauteur de retenue contre un obstacle |
hwi [m] | Hauteur d’incidence |
ha [m] | Épaisseur des matériaux déposés par la lave torrentielle |
hγ [m] | Majoration de la hauteur |
m [t] | Masse du plus gros bloc transporté |
lg [m] | Longueur de la paroi de bâtiment touchée |
lh [m] | Épaisseur de la paroi en béton armé |
ls [m] | Portée de la paroi en béton armé |
ρf [t/m3] | Densité de la lave torrentielle |
α [°] | Angle de déviation |
β [°] | Déclivité de la pente |
γ [°] | Angle d’ouverture de l’étrave |
g [m/s2] | Accélération gravitationnelle (10 m/s2) |
qf [kN/m2] | Pression exercée par la lave torrentielle |
qf,r [kN/m2] | Frottement spécifique |
qf,α [kN/m2] | Pression en cas d’incidence oblique |
qa [kN/m2] | Surcharge due aux laves torrentielles |
qe [kN/m2] | Pression statique de remplacement due à une charge concentrée (choc) |
a | Coefficient de pression |
A [m2] | Surface d’impact d’une charge concentrée |
Qe [kN] | Force statique de remplacement due à une charge concentrée (choc) |
Les situations de danger suivantes décrivent ce qui se passe lorsqu'un bâtiment est percuté ou contourné par un mélange d’eau et de matériaux solides. Ces effets peuvent être occasionnés par une lave torrentielle, une coulée de boue de versant ou un glissement de terrain superficiel spontané.
Situation de danger 1 : Une lave torrentielle percute un bâtiment
Le mélange d’eau et de matériaux solides percute le bâtiment. Le choc occasionne une retenue de hauteur hstau qui, cumulée avec la hauteur d’écoulement hf de la lave torrentielle, ne dépasse pas la hauteur hg du bâtiment. L'ensemble du toit ne subit donc aucun effet direct. La pression qf exercée sur la paroi extérieure du bâtiment est déterminante. Elle est notamment influencée par la forme du bâtiment ainsi que par la densité et la vitesse de la lave torrentielle. On admet que cette vitesse vf est constante sur toute la hauteur d’écoulement. Pour les parois latérales et toutes les parois atteintes en oblique, il convient de tenir compte de la pression réduite exercée en fonction de l'angle de déviation concerné α. Ces parois subissent également l’effect du frottement.
Par ailleurs, le choc occasionné par les éléments simples isolés de grande taille (blocs, troncs d’arbres) doit être pris en compte en tant que pression statique de remplacement.

Situation de danger 2 : Une lave torrentielle contourne un bâtiment grâce à un ouvrage de déviation
Si une lave torrentielle s’écoule en oblique contre un ouvrage de déviation (p.ex. une étrave ou un mur/digue de déviation) et le contourne, la pression qf,a agissant sur l’ouvrage est réduite au niveau de l’angle de déviation a. Cet angle a sera de 30° au maximum. Sinon, il n’y a plus d’effet déflecteur et l’on est en présence d’un choc tel que décrit dans la situation de danger 1. L’étrave doit en outre être suffisamment haute, car elle ne doit pas être submergée. Pour chaque mesure de protection, il convient de veiller à ne pas déplacer le danger sur des parcelles voisines.

La hauteur de retenue d’une lave torrentielle lors d’un choc contre un objet imperméable :
La pression exercée par la contrainte dynamique dépend de la vitesse de la lave torrentielle, de sa densité, de l’angle de déviation et d’un coefficient de pression cρ (cρ=1 pour une lave torrentielle très boueuse; cρ=2 pour une lave torrentielle boueuse; cρ=4 pour une lave torrentielle granulaire).
La densité des laves torrentielles et des coulées de boue de versant constituées de matériaux fins s’élève à ρf = 1800 [kg/m3] ; celle des laves torrentielles constituées de gros blocs à ρf = 2100 [kg/m3].
Pour les surfaces qui ne sont pas perpendiculaires à la direction d’écoulement, la pression se réduit au niveau de l’angle de déviation α :
Pour les parois latérales parallèles à la direction d’écoulement, on appliquera la pression s'exerçant lorsque les matériaux solides sont déviés d’un angle α = ± 20°.
Pression résultant des contraintes hydrodynamique et hydrostatique :
Lorsqu’une lave torrentielle emprunte un chenal, il faut s’attendre à ce que la contrainte dynamique due au choc de la coulée soit suivie d’une contrainte hydrodynamique-hydrostatique causée par l’écoulement de l’eau (crues). Il y a lieu d’étudier au cas par cas si cette séquence de contraintes hydrodynamique-hydrostatique est éventuellement déterminante pour certaines parties du bâtiment. De manière générale, il est important que les zones touchées sur l’enveloppe du bâtiment soient aussi robustes et étanches que possible.
La surcharge verticale due aux matériaux solides déposés sur un bâtiment submergé vaut :
, en cas de submersion de l’objet :
Pression due aux frottements :
Les forces de frottement doivent notamment être prises en compte sur un ouvrage de déviation tel qu’une étrave ou un mur déflecteur. On peut estimer les forces résultantes (frottement spécifique) en appliquant la formule qui décrit la contrainte d’entraînement par un liquide :
Force du choc provoqué par des éléments simples isolés :
La force du choc avec des éléments simples isolés (blocs ou troncs d’arbres entraînés sur le front d’une lave torrentielle) représente, avec la force de pression, l’effet principal occasionné par les débordements de laves torrentielles. Pour les laves torrentielles constituées de gros blocs, cet effet est déjà suffisamment pris en compte avec un coefficient de pression a = 4. Pour les laves torrentielles constituées de matériaux fins, ce choc provoqué par des blocs isolés doit être considéré comme un effet supplémentaire. Le calcul est identique à celui pour les chutes de pierres et de blocs.
Lors du choc provoqué par des éléments de laves torrentielles simples et isolés, des exigences supérieures s’appliquent en matière d’étanchéité de l’ouvrage par rapport à une chute de pierre et les déformations du système porteur se limitent donc au domaine élastique. Les forces statiques de remplacement Qe à appliquer sont plus élevées en conséquence. Le choc d’éléments simples avec une plaque de béton d’une portée de ls = 2.5 m et d’une épaisseur de lh = 30 cm produit des forces statiques de remplacement Qe selon le tableau suivant.
Forces statiques de remplacement suite à un choc lors de crues et de laves torrentielles
Masse m [kg] | Vitesse v [m/s] | Énergie E [kJ] |
Force statique de remplacement Qe (Poinçonnements| Flexion) |
100 |
2 | 0.2 |
39 | 2 |
100 |
4 |
0.8 |
155 | 9 |
100 |
6 |
1.8 |
288 | 14 |
500 |
2 |
1 |
193 | 12 |
500 |
4 |
4 |
773 | 46 |
500 |
6 |
9 |
1440 | 69 |
1000 |
2 |
2 |
387 | 23 |
1000 |
4 |
8 |
1547 | 93 |
1000 |
6 |
18 |
2880 | 138 |
On admet que ces charges concentrées agissent simultanément avec la pression qf exercée par la lave torrentielle. Applicables à n’importe quel endroit sur la hauteur de l’écoulement de la lave torrentielle, elles sont réparties uniformément sur toute la surface d’impact A.
Pression statique de remplacement due à une charge concentrée (choc) :

Des mesures en termes de conception et de renforcement permettent de réduire considérablement le danger pour les personnes et les biens matériels, par exemple si le bâtiment est placé de manière optimale sur le terrain ou si l'on a choisi une forme et une orientation adaptées pour le bâtiment. Évitez de prévoir des ouvertures dans la paroi extérieure exposée aux laves torrentielles ou protégez-les en conséquence. Prévoyez, dans le secteur exposé aux laves torrentielles, uniquement des locaux où les personnes séjournent peu de temps. Réalisez les parois extérieures et les ouvertures en construction massive et rendez étanche la zone potentiellement exposée.
Propositions de concepts et de mesures de protection pour les différentes parties du bâtiment :
ASTRA (2012): Dangers naturels sur les routes nationales : Concept de risque. Méthodologie basée sur les risques pour l’évaluation, la préven-tion et la maîtrise des dangers naturels gravitationnels sur les routes nationales, Office fédéral des routes, Berne.
OFEV (2016): Protection contre les dangers dus aux mouvements de terrain. Aide à l’exécution concernant la gestion des dangers dus aux glissements de terrain, aux chutes de pierres et aux coulées de boue. Office fédéral de l’environnement, Berne. L’environnement pratique n° 1608: 98 p.
Egli, Th. (2005): Recommandations - Protection des objets contre les dangers naturels gravitationnels. Association des établissements cantonaux d'assurance incendie, Berne.
PLANAT (2009): Concept de risque appliqué aux dangers naturels. Plate-forme nationale «Dangers naturels», Berne.
Fondation de prévention des établissements cantonaux d'assurance (2014): Prevent-Building – une méthode et un outil d’évaluation de l’efficacité, de la rentabilité et de l’acceptabilité des mesures de protection des bâtiments, destinés à parer aux risques naturels gravitationnels et météorologiques. Rapport concernant la phase 1 incluant les adaptations de la phase 2. Groupe de travail Prevent-Building: WSL-Institut pour l'étude de la neige et des avalanches SLF, Egli Engineering AG, Geotest SA, B,S,S. Volkswirtschaftliche Beratung, Version 12.05.2014. (Download)
Suda J. und Rudolf-Miklau F. (Hrsg.) (2012): Bauen und Naturgefahren, Handbuch für konstruktiven Gebäudeschutz. Springer, Wien.